Swedish engineer Christian von Koenigsegg, CEO of Koenigsegg, is one of the great polymathic minds of the automotive industry. Most engineers would find production hypercar development and daily-driving Mazda MX-5 Miatas stimulating enough; Koenigsegg’s Sadair’s Spear smashed Czinger’s production Goodwood Hill Climb record earlier this month. But von Koenigsegg is not like most engineers. And his interests are not confined to the automotive world.
With all Koenigsegg vehicles currently sold out, von Koenigsegg apparently found some downtime to explore other means of high-speed conveyance. Doing our obligatory automaker patent searches, CarBuzz uncovered a new patent registered to Christian von Koenigsegg in June – for a futuristic airplane. Wait… what?

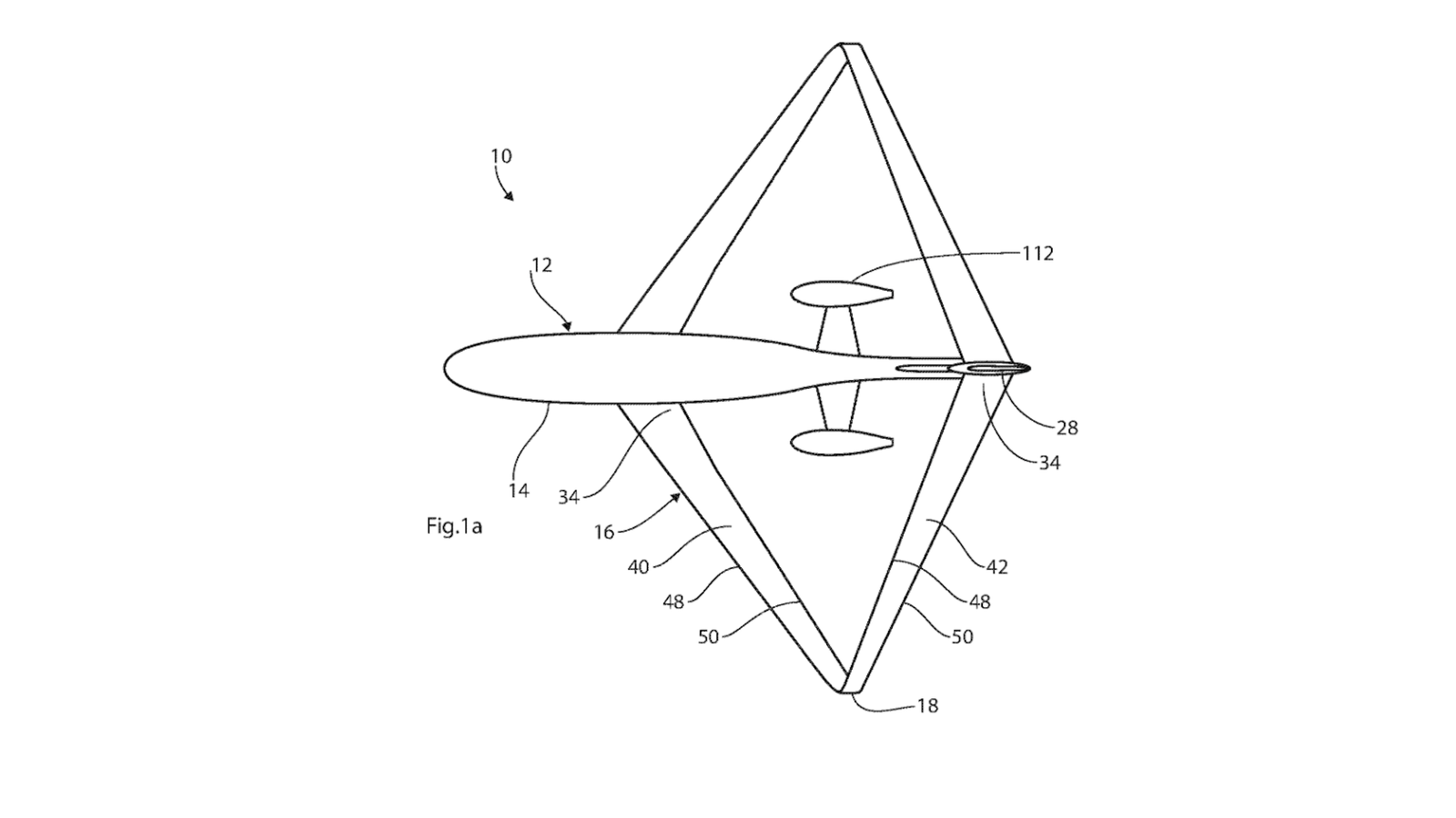
Christian von Koenigsegg Patented An Airplane Design
It’s true. The patent von Koenigsegg obtained is for a closed-wing aircraft. Very basically, conventional airplane wings have a clear flaw: the wingtips create aerodynamic drag. Lower-pressure and higher-pressure air meet at the end of the wing. This meeting results in spiraling and turbulent air, which produces the drag. A closed-wing airplane resolves this conundrum by not having wingtips.
In von Koenigsegg’s airplane design, the front portion of the wing descends from the fuselage, looping seamlessly with the other wing section descending from the tail. A series of motors and rods in the wings could contort sections of the wing. The alternate section of the wing would serve as a natural brace to offer enhanced stability.
Koenigsegg Getting Close To Setting A Production Car Speed Record, But It’s Complicated
Christian von Koenigsegg says he almost has the one thing he needs to set a new top speed record.
Here’s Why von Koenigsegg’s Design Would Be Cool
In theory, von Koenigsegg’s airplane design would be dramatically more aerodynamically efficient, allowing planes to travel further distances or, alternatively, consume less fuel. NOAA estimates that aviation accounts for about 3.5 percent of climate change. And improving air travel efficiency will be one of the main sustainability challenges for the duration of this century. The patent also notes that the design would allow the pilot to steer the aircraft and tailor it for different flight stages (takeoff, landing, cruising) without using conventional wing flaps.
Don’t Expect Von Koenigsegg’s Plane Design To Hit Commercial Airlines Anytime Soon
Like in the automotive world, having a cool idea is one part of the equation. The greater challenge can often be getting that cool idea into production. And it’s hard to see von Koenigsegg’s idea being ready for immediate practical application in the aviation industry.
A commercial manufacturer using von Koenigsegg’s design would need the ability to produce the complex design, meaning specialized equipment. Then, the manufacturer would have to figure out how to produce it repetitively and cost-effectively and do so in a manner that would placate the rigorous safety standards required to implement the design in commercial and civilian aviation. The challenge would be immense. And while closed-wing designs address wingtip drag, there are some notable tradeoffs regarding efficiency and maneuverability. But if there is a company out there willing to experiment, von Koenigsegg is no stranger to walking against the beaten path.
This Is Not The First Time A Carmaker Has Dabbled In Airplanes
Automakers have a rich history of being involved in airplane manufacturing. The Ford Tri-Motor was a legendary pre-World War II aircraft that pioneered commercial flight. During WWII, US automakers set aside cars and built military equipment, including aircraft. Mitsubishi built aircraft, and of course there was Saab’s long-time marketing campaign being born from jets. Honda currently builds a popular private jet, and arguably one of the greatest combustion engines of all time came from Rolls-Royce – the big V12 Merlin that powered numerous WWII aircraft, including the Supermarine Spitfire.
Sources: WIPO, NOAA
link
